+7 (812) 920-49-89
Техническая документация:


Характеристики

Антенна KC6-2400T предназначена для усиления WiFi сигнала 2,4 ГГц стандарта 802.11b/g/n в местах неуверенного приема.

Корпус антенны выполнен из АБС (ABS) пластика, не боится воздействия УФ лучей и осадков.

Варианты установки антенны KC6-2400T:

  • на автомобили для усиления сотовой связи,
  • терминалы,
  • банкоматы и тд.

Характеристики антенны:

  • комплектуется кабелем, RG-58 с низкими потерями, длиной 3 метра
  • влагозащищенное исполнение
  • комплектуется разъемами RP-SMA(male)

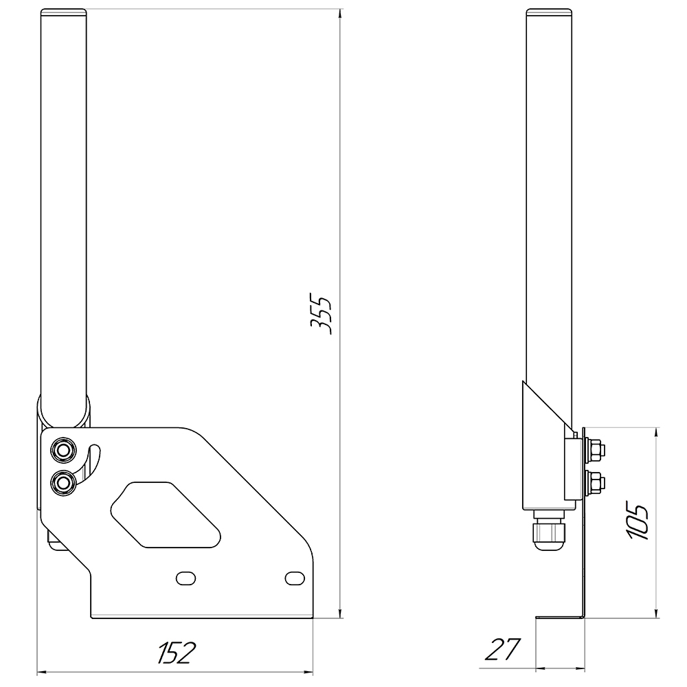
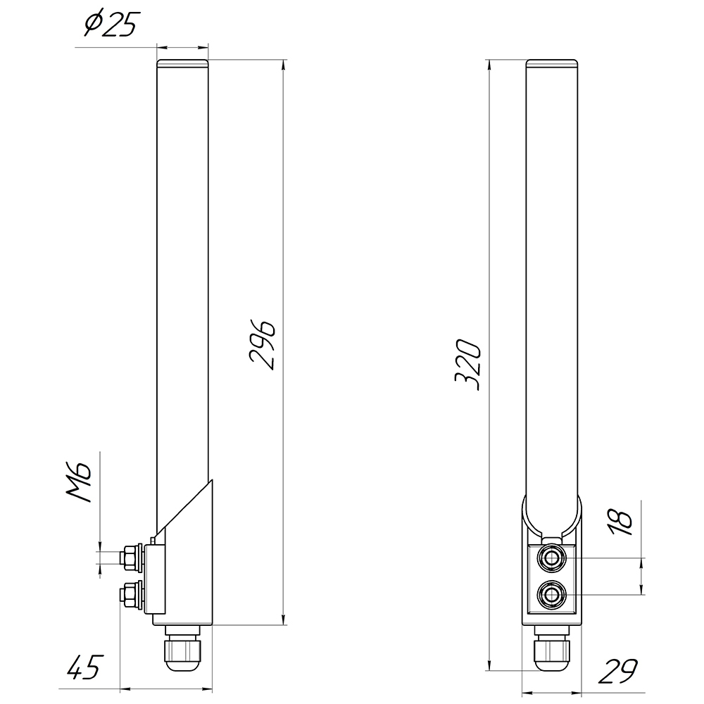
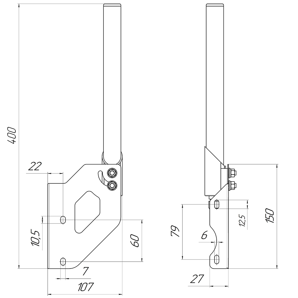
Габариты (длина , ширина , высота ), мм
320  x   29  x   50 

Габариты, вес, количество товара в упаковке:

Размеры индивидуальной упаковки (длина , ширина , высота ), мм
340  x   29  x   50
Масса в индивидуальной упаковке, грамм
450

Антенны- характеристики :

Рабочий диапазон частот, МГц
2300-2500
Усиление антенны, dBi
6
КСВ в рабочем диапазоне частот, не более
2
Поляризация
Линейная
Волновое сопротивление, Ом
50
Максимальная подводимая мощность, Вт
10
Разъём
RP-SMA-male
Допустимая ветровая нагрузка, м/с
25
Диапазон рабочих температур, оС
-40 ... +90
Максимально допустимая влажность воздуха, %
100
Стандарт связи
WiFi 2,4ГГц
Тип монтажа
на крышу
на стену
Тип исполнения
Всенаправленная
Поддержка MIMO
Нет

Графики КСВ, диаграммы направленности:

Диаграмма направленности в вертикальной плоскости: ДН_0.jpg
КСВН: VSWR.jpg

Комплектация:

Антенна KROKS KC6-2400T
Кронштейн угловой
Руководство по эксплуатации (паспорт)
Упаковка
Рекомендуем прочитать
21 февраля 2014 40 671
Как выбрать антенну для Wi-Fi?

Варианты использования направленных и всенаправленных антенн WiFi для органицации каналов связи на большие расстояния.